亿达环保资质荣誉

PRODUCT PRESENTATION

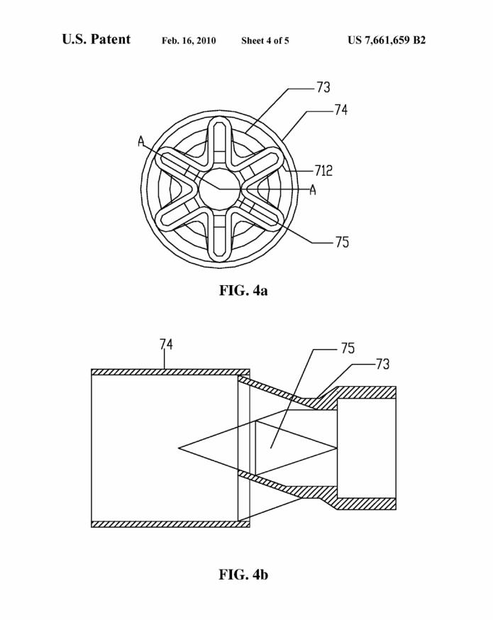
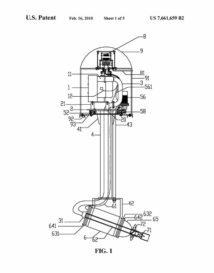
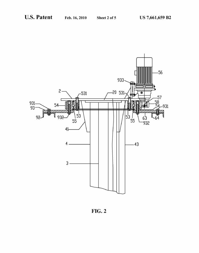
美国专利证书

作者:     发布时间:2020年4月10日     阅读量:4396次

分享:

美国专利证书

2.jpg

1.jpg

2.jpg

3.jpg

4.jpg

5.jpg

6.jpg

7.jpg

8.jpg


下一条:美国专利证书上一条:美国专利证书

亿达环保

亿达环保

联系我们

山东亿达环保技术工程有限公司

座机:0537-5316339

传真:0537-5316339

网址:www.sdydhbgs.com

地址:山东省邹城市中心机电产业园恒丰路499号

版权所有:山东亿达环保技术工程有限公司                            鲁ICP备18020495号-1

公示信息